Beschrijving
Hoogwaardige inklapbare ringgreep van roestvrij staal V4A (SUS316), glanzende oppervlakken, diameter ⌀40 mm 26901
Toepassing:

Inklapbare ringvormige handgreep gemaakt van het fijnste corrosievrije roestvrij staal V4A (SUS316), geschikt voor vochtige, ruwe en zeer corrosieve omgevingen.
De inklapbare handgrepen zijn perfect voor toepassingen waarbij u de handgreep verborgen wilt houden.
In opgevouwen toestand liggen de ringgrepen gelijk met het oppervlak.
Het RVS SUS316 geeft de handgrepen unieke eigenschappen.
De niet-corrosieve handgrepen 26901 zijn ideaal voor:
- Cleanroom
- productie faciliteiten
- Cruise schepen
- jachten
- boten
- Schepen
- buitenruimte
- offshore-faciliteiten
- badkamer
- Zwembad
- Sauna
- Medische sector
- labuitrusting
- buitenmeubels
- restaurant interieur
- roestvrijstalen keuken
Materiaal:
De roestvrije vouwringgrepen 26901 zijn gemaakt van massief hoogwaardig SUS316 roestvrij staal.
SUS316 roestvast staal (ook bekend als V4A) is een roestvast staal met een uitstekende corrosieweerstand.
Vanwege de bestendigheid tegen stoffen die chloor bevatten, wordt meubelbeslag en industrieel beslag van SUS316 roestvrij staal gebruikt en uitdrukkelijk aanbevolen voor gebruik in de buurt van de kust.
Vouwringgreep van SUS316 roestvrij staal is ook ideaal voor gebruik in zwembaden, scheepsbouw, chemische industrie, enz.
Oppervlak:
- Gepolijst tot een glans
Assemblage:
- Het is bevestigd met schroeven (niet inbegrepen)
- De inklapbare handgreep moet zo worden geplaatst dat de verbinding naar boven staat
- Het oppervlak moet worden uitgefreesd voor montage ( zie tekening).

Eigenschappen:
- Gewicht: 85 g
- Maat: 62,5 mm (2,5 “)
- roestvrij
- Bijzonder corrosiebestendig
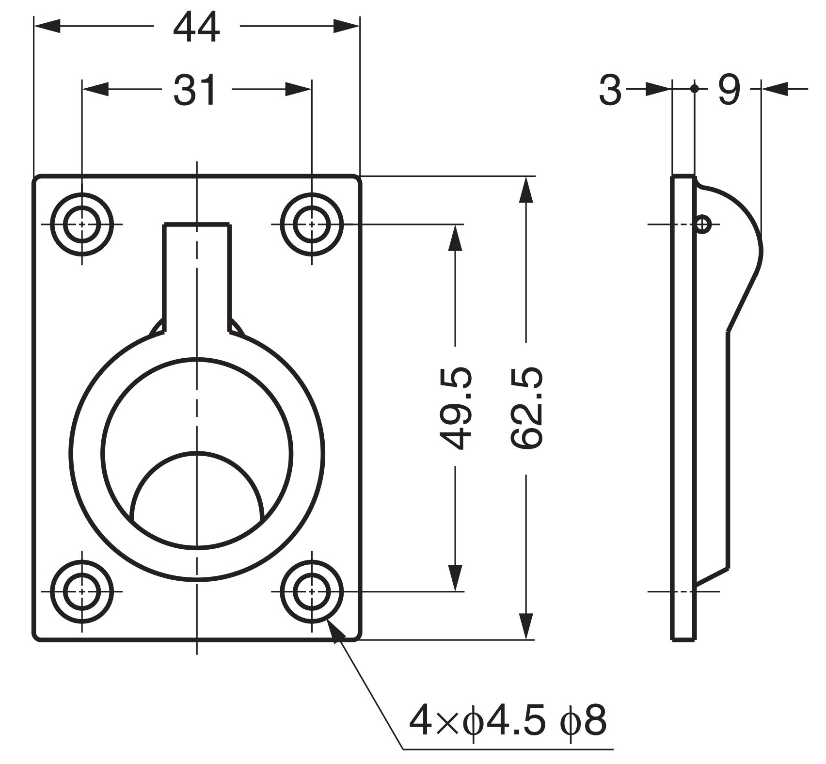
Afmetingen:
Voor meer afmetingen en details, zie technische tekening.
- Lengte: 62,5 mm (2,47 “)
- Greepbreedte: 44 mm (1,74 “)
- Gripdiepte: 9 mm (0,36″)
- Afstand tussen de gaten: 49,5 mm (1,95 “) en 31 mm (1,23”)
- Diepte van uitsparing: 10 mm (0.4″)
- Diameter van de schroefgaten: ⌀4,5 mm (0,18″)

Inbegrepen in de levering:
- 1 stuk ringvormige handgreep 26901 van RVS SUS316 (V4A)
Referentienummer van de fabrikant:
- Artikelnummer: 100-096-010
- Artikelaanduiding: 26901
- EAN-nummer: 451093201093
Fabrikant: SUGATSUNE / LAMP® (Japan)




